Raudse eesriide aegu: piiriülene raadiopropaganda ja segajad

Ideoloogiline sõda, ajupesu...
Heal lapsel mitu nime!
Vasta
Kasutaja avatar
Svejk
Liige
Postitusi: 3758
Liitunud: 13 Jaan, 2010 18:32
Asukoht: Põllul
Kontakt:

Raudse eesriide aegu: piiriülene raadiopropaganda ja segajad

Postitus Postitas Svejk »

http://www.ambur.ee/IgorHallas1.htm

Sissejuhatus
Juttu tuleb ajast, mis algas N.Liidus pärast teist maailmasõda. Lasti alla raudne eesriie. N.Liitu jäänud rahvad ei tohtinud välismaalt saada mingisugust informatsiooni. Kommunistidel õnnestus takistada inimeste liikumine läbi raudse eesriide, kuid raadiolained ei allunud nende korraldustele ja tulid läbi. Jälle lisamured, mis nüüd teha, info on ikka siia jõudnud! Tuleb midagi ette võtta. Ja võetigi.
Kommunistidel on alati olnud hirm raadiovastuvõtjate ja fotoaparaatide ees. Kui pildistamist kardeti ja keelati kogu aeg, siis raadiokuulamisega oli veidi teisiti. 1940-1941 aastatel see keelati ja korjati inimestelt ära raadiovastuvõtjad. Peale sõda lubati kasutada raadioid, kuid 1950-1951 hakati segama spetsiaalsete raadiosaatjatega välisriikidest tulevaid N.Liidu piiridesse jäänud riikide keeles antud saateid.
Ehitati üle N.Liidu ainult selleks otstarbeks ette nähtud raadiosaatjate võrk. Segamine toimus kõigis ringhäälingu lainealades alates pikast lainest kuni lühilaine 13 meetrini. Teame, et segajad olid olemas ka nn rahvademokraatiamaades, aga nende kohta andmed puuduvad.
Segajad mitte ainult ei katnud oma leviga selleks ette nähtud riiki, vaid ulatusid ka kaugemale ja levisid üle raudse eesriide (milline häbematus!) Euroopasse. Alles hiljuti rääkis mulle Saksamaalt tulnud inimene, et neil oli eeter lühilainel vene segajate tõttu risustatud. Nüüd on puhas.
Üheks viisiks välissaadete kuulamise takistamiseks oli ka lühilainete piiramine vastuvõtjates. N.Liidus valmistatud raadiovastuvõtjatel puudus osa lühilaine ringhäälingudiapasoone. Puudusid päeval kuulatavad lühilained.
Kui üldse on lühilainel ringhäälingubande 8

11 13 16 19 25 31 41 49 m
25 21 18 15 12 9 7 6 MHz

ja harilikult kasutatakse ringhäälinguvastuvõtjates nendest 16-49 m siis N.Liidus tehti vastuvõtjaid lühilainega 25-49m
Järgnevas osas on näidatud, kuidas toimus raadiosaadete segamine nõukogude ajal Eestis. Sama süsteem kehtis kogu N.Liidu kohta

Tallinn, 3. Mai 2000.a. I. Hallas

Eellugu


Lugu algas sellest et ma lõpetasin Tallinna Elektromehaanika Tehnikumi raadio erialal 1955. aastal. Sel ajal kehtis kord et lõpetajatele määrati töökoht kohustuslikus korras kolmeks aastaks riikliku suunamiskomisjoni poolt (me nimetasime seda orjaturuks). Minul vedas, sain töökoha Tallinnasse, Eesti Vabariiklikku Raadiokeskusesse, mis omakorda allus Sideministeeriumile.
Seal määrati mind tööle koos ühe koolivennaga Raadiokeskuse objekti nr. 65 Sitsi mäele. Asukoht Kopli tänava ääres Kopli-Tööstuse tänavate ristmikul otse enne seda, kus Kopli tänav mäest alla läheb. See oli eestiaegne Ranna Raadiojaam, mille antennimastid oli ehitanud minu õpetaja tehnikumist, insener Albrecht Põdrus. Ühe masti vundamendis oli säilinud isegi vaskplaat Põdruse nimega.
Nr 65 tähendas salastatud raadiojaama, mille otstarve oli välismaiste raadiosaatjate segamine. Neid oli Eestis üldse neli: nr 602, Tallinnas Tõnismäe ligidal Luha tänaval, kus olid iseloomulikud 3 sarvilist masti (üks praegugi alles), Tartus Tiigi tänaval ja Pärnus. Viimaste numbreid ei mäleta. Peale nende võis segamiseks kasutada ka olemasolevaid ringhäälingusaatjaid.
Sitsi saatjast on praeguseks säilinud vaid maja. Kuigi meid oli Sitsi saatjasse tööle võetud, ei lastud meid ühe kuu jooksul aparatuurisaali, mis oli selle maja kõige salajasem koht. Kuu aja jooksul KGB kontrollis meie sobivust eritööks, nagu siis nimetati. Kuid mingisuguseid erilisi poliitilisi kuritegusid N.Liidu vastu ilmselt ei leitud ja meid lasti tööle. Huvitav oli see, et kontrollimine tehti alles pärast meie tööle määramist.

Segamissüsteem ise oli järgmine. Ameerika Hääle, Vaba Euroopa jne segamine ei toimunud mitte ainult eelpoolnimetatud saatjate abil. Organisatsioon oli keerulisem. Peakontor oli muidugi Moskvas.
Eestis oli niimoodi: iga Eesti segamiskeskus (st. Tallinn, Tartu, Pärnu) koosnes kahest osast, nn raadiobüroost ja objektist. Raadiobüroo oli jälgimisjaam, kus kuulati ööpäevaringselt VoA ja teiste saateid ning anti vastavalt vajadusele korraldus objektidele (raadiosaatjatele) neid segama hakata.
Objektid olid eelpoolnimetatud raadiosaatejaamad (65; 602 jne), mis sisaldasid hulga lühi-, kesk- ja pikalainesaatjaid.

Tallinna Raadiobüroo asus Kreutzwaldi tn. 12 Sideministeeriumi majas III. korrusel. Igal laual asus suur tundlik panoraamostsillograafiga varustatud vene lühilainevastuvõtja “Krot”, iga vastuvõtja taga istus operaator, üks vene naisterahvas, kõrvaklapid peas. Kogu toa peale oli ka üks pika-kesklaine vastuvõtja, mida läks harvemini vaja. Raadiobüroos oli olemas kõikide VoA, Vaba Euroopa jne eesti ja venekeelsete saadete kavad. Neid pidi pidevalt kuulama ja saate algamisel andma käsu objektidele segaja käima panna.

Objektidest.
Need polnud muud, kui raadiojaamad, mis sisaldasid hulga raadiosaatjaid. Näiteks objektis nr. 65 oli:
Lühilainesaatjaid 1kW 10tk

USA sõjaväe l-l saatja SCR 1tk

Kesklainesaatja “Uragan” 10 kW 1tk (vesijahutusega)
Pikklainesaatja “Storm” 3 kW 1tk (õhkjahutusega)
Ja veel 2 väiksemat k-l saatjat, mida peaaegu ei kasutatud.

Objekti nr 65 ülemaks oli vene naisterahvas Gorelova, kes oli Leningradis lõpetanud sideinstituudi.
Objektil nr 602 olid lühilainesaatjad 4kW 10tk. Selle ülem oli samuti üks vene naine.
Tartu ja Pärnu objektid olid komplekteeritud peamiselt USA sõjaväesaatjatega tüüp SCR (lühilaine)
Objektid ja saatjad olid järjekorras nummerdatud. Objektide numeratsioon oli järgmine:
Vanemat tüüpi, väiksemate l-l saatjatega:
Nr 65 - Tallinn, Sitsi mäel
Nr 66 - arvatavasti Tartu
Nr 67 - arvatavasti Pärnu
Edasi juba Eestis väljaspool.
Moodsamad ja võimsamad:
Nr 602 - Tallinn, Luha tn. Seda tüüpi objekte rohkem Eestis ei olnud.

Saatjate numeratsioon: igal saatjal oli oma number. Need olid järjekorras nummerdatud ühe linna piires, olenemata sellest mitu objekti seal oli.
Seega Tallinnas nr-d 1-10 asusid objektil nr 602, nr-d 11-26 asusid objektil nr 65.
Näiteks 1-10 l-l saatjad a 4kW, 11 k-l saatja Uragan.
Ühendus raadiobüroost objektidesse (Tartus ja Pärnus olid oma raadiobürood) toimus eri telefoniotseliinide kaudu.
"Vaated ja veendumused pärinevad tunnetemaailma sügavikest ja loogika on enamasti vaid kuuleka intellekti abivalmis instrument põhjendamiseks ja õigustamiseks"
"Maul halten und warten diner!" (lõuad pidada ja lõunat oodata!)
Kasutaja avatar
Svejk
Liige
Postitusi: 3758
Liitunud: 13 Jaan, 2010 18:32
Asukoht: Põllul
Kontakt:

Re: Raudse eesriide aegu: piiriülene raadiopropaganda ja seg

Postitus Postitas Svejk »

Jätkub....

Mürageneraator
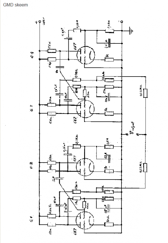
Segav müra, millega moduleeriti saatjaid, tekitati eraldi generaatoriga. Seda nimetati GMD, generator mešajuštšego deistvija ehk täpses tõlkes segava tegevuse generaator. GMD asus igal objektil ja tagavaraks ka raadiobüroos. Generaator andis iga minuti järel müra vahele oma kutsungi. Näiteks objekti 65 kutsung oli morse tähestiku Y, objektil 602 V.
GMD koosneb neljast eraldi generaatorist, igaüks kaksiktrioodiga 6N7. (vaata skeemi)
G1 annab sageduse 135 Hz
G2 annab sageduse 320 Hz
G3 annab sageduse 3 Hz
G4 annab sageduse 5 Hz
Kõik on multivibraatorid, seega impulsspinge generaatorid.
G1 ja G3 on põhigeneraatorid, G2 ja G4 abigeneraatorid põhigeneraatorite sageduse kõigutamiseks. G2 muudab G1 sagedust ±3 Hz ja G4 muudab G3 sagedust ± 5 hz. G1 ja G3 väljundid lülitatakse omakorda kokku ja saadud heliga ehk müraga moduleeritakse saatjaid. See oligi see müra, mida me raadiost kuulsime. Kuid peab ütlema, et venelase pea mõnikord lõikab ka. Kuigi kõik PL, KL ja LL saated olid alati amplituudis moduleeritud (AM) ei kasutatud segamisel amplituudmodulatsiooni, vaid sagedusmodulasiooni (FM). Parasjagu nii kitsaribalist, kui bändides 1 jaama jaoks ette nähtud on, see on 9-10 kHz. Saatja kandevlainet ostsillograafiga vaadates ei olnud modulatsiooni näha, nagu seda ei olekski.
Mürageneraatorit peeti objekti kõige salajasemaks seadmeks. Väliselt ei erinenud ta milleski ühest tavalisest võimendajast. Fotol nr 3 asubki ta tavaliste võimendajatega ühes stendis (kõige alumine).
Segajasse tööle asunud inimesele tutvustati ja seletati tema tööd kõige viimases järjekorras. Mõnele teisele Eesti Raadiokeskuse töötajale, kui see ametiasjus segajasse sattus ja juhuslikult aparatuuri kohta midagi küsis, räägitigi, et seal asuvad võimendajad.
Sama juhus oli minuga tehnikumi ajal Laitse ringhäälingu saatjas praktikal olles. Seal oli ka GMD olemas. Leidsin selle üles, tundmatu asi ja küsisin, mis see on. Vastati, et modulatsioonivõimendi.

Sagedusalad.
Segada võimaldasid meie saatjad pika ja kesklaine ringhäälingu diapasoonis ning lühilainel ringhäälingubändides 13; 16; 19; 25; 31; 41; 49m. Mõni sagedus on siiani meelde jäänud. Pikal lainel töötasime sagedusel 173 kHz, kesklainel kõige rohkem sagedusel 1195 kHz – see oli München.
Üks episood suurest salastamisest. Töö ajal oli meil tarvis märkmeid teha. Oli tarvis üles kirjutada töösagedused, kui raadiobüroo neid meile enne saadete algust teatas, et eelnevalt saatjad valmis häälestada. Pärast 15 minutilist saadet neid märkmeid enam vaja ei olnud. Kuid sagedusi üles kirjutada ei tohtinud juhuslikele paberilehtedele, sest need visatakse minema ja võivad sattuda spioonide kätte. Sisuliselt anekdoot: ameerika spioon saab teada Ameerika Hääle töösagedused!
Märkmete tegemiseks anti meile väikesed märkmikud nummerdatud lehtedega, mis olid nööriga läbi õmmeldud, nööri otsad kinni pitseeritud. Märkmiku täissaamisel tuli see anda ülema kätte, millepeale see hävitati, aga võib-olla anti ka arhiivi.

Segamine toimus järgmisel viisil. Raadiobüroo operaator teatas saatja personalile eelnevalt oodatavad sagedused ja kellaajad. Ise jälgis raadiovastuvõtja taga eetrit. Ameerika hääle saate segamisel võttis operaator eriliinide kaudu saatejaamaga ühenduse. Iga saatja kõrvale läks telefoniliin, nii et saatekeskuse tehnik sai raadiobürooga rääkida iga saatja kõrvalt. Operaator teatas saatetehnikule sageduse, mille peale lülitas liinile oma kõne asemele vastuvõtja väljundi, kus rääkis Ameerika hääl. Seda kuulis saatetehnik ja keeras juhtgeneraatori nupust saatja otse selle peale. Häälestamise täpsust jälgis Raadiobüroo operaator peale kuulamise veel visuaalselt panoraamostsillograafilt. Kui segaja oli täpselt õiges kohas (sagedusel), läks operaator tagasi kõne asendisse ja käskis sisse lülitada modulatsiooni. Ameerika Hääle saate lõppedes võis saatja välja lülitada siis, kui raadiobüroo operaator selleks korralduse andis.
Kuna juhtsaatjad (ehk ergutajad) ei olnud eriti kõrge kvaliteediga, siis meie Sitsi saatjates triivis nende sagedus töö ajal kõrvale ja Ameerika Hääl jäi vabaks. Seda kontrollis raadiobüroo, mis puhul tuli saate ajal juhtsaatja jälle eelpoolnimetatud viisil paika panna. Seda kasutasid sõbrad, kes kodus raadiot kuulasid. Helistasid ja palusid sellel või teisel sagedusel segaja pealt ära keerata. Said siis veidi aega kuulata, kuni raadiobüroo kõrvalekaldunud saatja avastas. Ameerika Hääl töötas korraga paljudel sagedustel, nii et bürool polnud kerge teda pidevalt jälgida.
Peale kohalike segajate olid veel olemas kaugtoimega segajad Venemaal, Ukrainas ja kes teab veel kus. Need olid suundantennidega suunatud Eesti poole ja asusid nii kaugel, et peegeldunud laine meie kohal maha tuli. Neid juhiti omaette Ameerika Hääle saatekavade alusel. Olenevalt levist olid nad mõnikord hästi kuulda, mõnikord üldse mitte.

Peale segamise võisime teha ka ringhäälingut. Samas ligidal, üks trammipeatus linna poole Heina tänava raudteeülesõidukoha juures asus Tallinna teise programmi ringhäälingu saatja, nn “Vagunsaatja”, kuna ta asus kolmes raudteevagunis. Meie võisime oma kesklainesaatjaga, mis oli sisuliselt sama, teda asendada. Seda tehtigi, kui oli tarvis vagunsaatjat remontida.
Selle juures juhtus kord huvitav sündmus. Meie pidime oma kesklainesaatjaga “Uragan” asendama vagunsaatjat, kuna see pidi remonti minema. Meie ja raadiomaja vahel otsest liini ringhäälingu tarbeks ei olnud. Ringhäälingu programm anti meile läbi raadiobüroo. Raadiomaja ja raadiobüroo asusid kõrvuti, Kreutzwaldi tänav 14 ja 12. Raadiobüroost anti ringhäälinguprogramm meile Sitsi ühe meie otseliini kaudu. Ringhäälingu saade algas kell 6:55 hommikul. Samal ajal 6:45-7:00 oli Ameerika Hääle hommikune saade kasklainel, mida me pidime segama.

Seekord pidi segamise ära tegema vagunsaatja ja siis peale seda remonti minema. Minul oli juba saatja häälestatud ringhäälingu sagedusele 710 kHz, liin raadiomajaga ära kontrollitud ja modulaatorisse kommuteeritud, modulaator ümber lülitatud amplituudmodulatsioonile. Kontrolliks seisis laual raadiovastuvõtja, häälestatud 710 kHz-le. Nüüd unustas raadiobüroo saatjate vahetuse ära. Kell oli 6:50 kui ma kuulsin laualt raadiost ühe naise häälega roppu venekeelset sõimu ja kisa – miks ei tööta teie saatja “Uragan” ja Ameerika Hääl on segamata! Raadiobüroo operaator helistas meile sellesama modulatsiooniliini kaudu, kust pidi tulema ringhäälingu programm. Kõike seda kuulsid ka Eestimaa raadiokuulajad. Kui lõpuks operaator väsis ja hinge tõmbas, sain vastata, kes täna segab ja kes teeb ringhäälingut. Teatasin, et kogu tema kõne läks eetrisse. Tekkis surmvaikus, meid ei tülitatud enam kaua aega. Kohe algas ringhäälingusaade.

Sitsis tehti ka peale segamise üht-teist muud. Sitsis ehitati valmis esimene pealesõjaaegne Tartu ringhäälingu kesklainesaatja, mis siis viidi Tartusse. Asukoht Tiigi tänava segaja hoones. Saatja ehitati ümber samasugusest “Uragan” tüüpi saatjast, nagu meil juba oli. Ehitaja oli Raul Pääro. Sitsi saatjast on läbi käinud palju Elektromehaanika Tehnikumi lõpetajaid nii enne kui pärast mind. Näiteks Arvo Kaldma – sideminister, Kalju Kallikivi – Eesti Energia sidetalituse juhataja.
Raadiojaama territoorium oli ümbritsetud kõrge aiaga. Ühtki võõrast sinna ei lastud, ka mitte miilitsat. Väravas seisis valvur vene vintpüssiga. Valvesalka kuulusid nii eestlased kui ka venelased. Mõnikord, kui igavaks läks, käisime valvuriga maja keldris püssi laskmas. Muidugi suure saladuskatte all.
Töö saatjas käis ööpäevaringselt neljas vahetuses, kaks tehnikut korraga vahetuses, päeval 8-20, öösel 20-8.
Kord ühel lumisel talvel tegime objekti aeda tohutu suure lumememme, mida oli isegi tänavalt üle plankaia näha, eriti hästi trammist. Kuna sel memmel olid hästi nähtavad naissoo tunnused, saime Eesti Raadiokeskuse peainsenerilt Gnipilt selle eest käskkirjaga karistada.
1958. aastal sai läbi minu kohustuslikud kolm aastat ja ma lahkusin objektilt nr 65 ja üldse Eesti Raadio keskusest tasuvamale tööle Eesti Merekalasadama navigatsioonikambrisse.

Fotod.

Lühilainesaatjad 1 kW. Neid oli 10 tk
Samad saatjad
Raadiojaama kommutaatori laud
Kesklaine saatja “Uragan”
Need on saatjatehnikud, kes istuvad pikalainesaatja “Štorm” sees.




Pildid on tehtud aastatel 1956 ja 1957. Pildil nr 3 paremal kõige all GMD.
Töö objektil oli muidugi täiesti salastatud. Oli täielikult keelatud rääkida ükskõik millisele tuttavale või sugulasele oma tööst. Pildistamisest rääkimata. Selle välja tulekul ähvardas 25 aastane karistus. Ometi sai tehtud pilte, oma tööst räägitud aj isegi mõnikord öösel mõni tuttav sisse kutsutud ja segajaid näidatud. Ei kukkunud keegi kinni.

Objekti nr 602 ehitamist nägime oma silmaga, kui veel tehnikumis käisime aastatel 1953-1955. See oli tehnikumi klassiakendest hästi näha. Küsisime õpetajalt Arnold Isotammelt, mis maste sinna ehitatakse. Isotamm ei öelnud, ehkki teadis.
Praegu, 46 aastat hiljem, ei mäleta täpselt enam aastat. Tõenäolisem tundub 1954. a. Üldse alustati segajate ehitamist 1950-1951 aastate paiku.


Objekt nr 602 Kaks teineteise vastas seisvat sarve moodustavad ühe dipoolantenni (poollainedipool). Praegu on ainsale allesjäänud mastile tehtud tippu juurdeehitisi.

Personal.
Objekt allus Eesti Vabariiklikule Raadiokeskusele. Samale, kuhu kuulusid ka ringhäälingu saatjad ja raadiomaja. Alguses 1955. a. televisiooni veel ei olnud.
I Objekti ehk segaja personal oli järgmine:

Ülem. Venelane. Millegipärast olid nad alati naised. Erikõrgharidusega side või raadiotehnika alal. Parteilane. Inseneri töökohti ei olnud.
Vanemtehnik. Eestlane. Tallinna Elektromehaanika Tehnikumi haridusega. Raadiotehnik. Parteitu.
Vahetuse personal. Objekt töötas ööpäevaringselt vahetustega. Igas vahetuses kaks inimest, üldse neli vahetust, seega kaheksa inimest valvepersonali.
Neist olid pooled eestlased, pooled venelased. Eestlased, nii mehed kui naised, suuremalt osalt TET haridusega raadiotehnikud. Mitte keegi ei olnud parteilane. Venelased mehed ja naised. Mitte keegi ei olnud tehnilise eriharidusega. Tulnud Eestisse peale sõda koos vene sõjaväega. Mõned endised sõjaväelased. Osa parteilased, aga mitte kõik. Eesti keelt ei osanud.
II Raadiobüroo. Töötas ööpäevaringselt vahetustega.

Ülem. Eestlane. Mees. Tehnikumi haridusega raadiotehnik. Parteilisust ei tea.
Vahetuse personal. Neli vahetust, korraga kolm inimest, kokku 12 töötajat. Üks eesti mees ja 11 vene naist. Kõik ilma tehnilise erihariduseta. Venelased eesti keelt ei osanud.
Palk raadiosaatjas ja üldse Raadiokeskuses oli tol ajal järgmine. Raadiotehniku kuupalk 640 rubla. Peab arvesse võtma, et vene ajal (ja praegu ka Eestis) nimetatakse palgaks seda summat, millest ei ole veel makse maha võetud. Seega räägime brutopalgast. 640 rubla oli veidi vähe üheks kuuks elamiseks, mõnikord sai raha juba enne palgapäeva otsa. Viimasel aastal segajas töötades sain 1. järgu tehnikuks palgaga 860 rubla. Aga võrdluseks: minnes tööle Tallinna Merekalasadamasse muutus olukord tunduvalt. Seal maksti kuus 1540 rubla, see oli juba küllaldane.

Antenniväli. Kogu objekti territoorium kujutas endast kolmnurkset platsi Kopli ja Tööstuse tänavate vahel. Praegu on see elumaju täis ehitatud. Varem ei olnud seal muud kui heinamaa. Linna pool lõppes maa Kopli tänava ääres asuva kirikuga. Selle tagant kulges aed Tööstuse tänavani. Kirik oligi esialgseks segaja saatjate aparaadiruumiks. Üsna ruttu ehitati selleks uus maja, mis on tänini alles. Kirik jäi raadiokeskuse töötajate elumajaks.
Territooriumil asusid kolm masti. Mastid ei töötanud antennidena, olid ainult kandekonstruktsioonideks. Kaks masti olid eestiaegsed, Ranna Raadiojaama ajast, ehitatud Türi ringhäälingusaatja antennimasti praakdetailidest. Nimelt Türi saatja ehitamise ajal kukkus üks osa antennimastist Eestisse toomisel Tallinna sadamas kraana konksu otsast maha ja deformeerus. Seda enam Türil ei kasutatud, läks Sitsi mastide ehitamiseks.
Koos segajaga ehitati juurde kolmas mast kõrgusega 30-40 m. Kaks originaalmasti olid kõrgemad, kahjuks kõrgust ei mäleta, ligikaudu 60 meetrit. Mastide vahele olid riputatud kõikide saatjate antennid. Lühilaine antennid olid sümmeetrilise toitega poollaine dipoolid, kesk ja pikalainel ebasümmeetrilised ¼ lainest lühemad antennid. Teoreetiliselt oleks tornis ¼ laine pikkust (kõrgust), kuid seda ei olnud võimalik ruumi puudusel teha. Iga saatja jaoks oli individuaalne antenn. Fiidrid tulid majast välja läbi akende.
"Vaated ja veendumused pärinevad tunnetemaailma sügavikest ja loogika on enamasti vaid kuuleka intellekti abivalmis instrument põhjendamiseks ja õigustamiseks"
"Maul halten und warten diner!" (lõuad pidada ja lõunat oodata!)
Kasutaja avatar
Svejk
Liige
Postitusi: 3758
Liitunud: 13 Jaan, 2010 18:32
Asukoht: Põllul
Kontakt:

Re: Raudse eesriide aegu: piiriülene raadiopropaganda ja seg

Postitus Postitas Svejk »

Kuna olin enne teemategemist erisideotseliinikaudu kontaktis ka foorumi luure- ja vastuluure (ning mitteainult!) spetsialisti FTP Fucsiga, siis sain tungiva soovituse
postitada ka alljärgnev pooldokumentaalfilm populaarse noorsootantsumuusikastiili ja massihävitusrelvakonflikti sümbioosost... 8)


Dokfilm Disko ja tuumasõda (Eesti 2009)
https://etv.err.ee/v/dokumentaalfilmid/ ... eesti-2009
"Vaated ja veendumused pärinevad tunnetemaailma sügavikest ja loogika on enamasti vaid kuuleka intellekti abivalmis instrument põhjendamiseks ja õigustamiseks"
"Maul halten und warten diner!" (lõuad pidada ja lõunat oodata!)
Kasutaja avatar
Castellum
Liige
Postitusi: 2698
Liitunud: 27 Dets, 2008 23:29
Asukoht: Tallinn
Kontakt:

Re: Raudse eesriide aegu: piiriülene raadiopropaganda ja seg

Postitus Postitas Castellum »

Svejk kirjutas:Kogu objekti territoorium kujutas endast kolmnurkset platsi Kopli ja Tööstuse tänavate vahel. Praegu on see elumaju täis ehitatud. Varem ei olnud seal muud kui heinamaa. Linna pool lõppes maa Kopli tänava ääres asuva kirikuga. Selle tagant kulges aed Tööstuse tänavani. Kirik oligi esialgseks segaja saatjate aparaadiruumiks. Üsna ruttu ehitati selleks uus maja, mis on tänini alles. Kirik jäi raadiokeskuse töötajate elumajaks.
See kirik oli Tallinna 2. metodistikoguduse kirik. Ehitust alustati augustis 1934, õnnistati 27. jaanuaril 1935. Rahvasuus ka pastori järgi Secki kirik vms.

1950 võeti koguduselt ära. Kokku võeti sel ajal vabakogudustelt ära vist 8 hoonet (lisaks ap-õigeusu ja luteri kirikult), neist tehti igasuguseid asju - spordisaale, ühiselamuid, tööstushooneid jms. Sitsis tehti siis raadiojaama tehniline hoone.

Lammutati 1991 ehk siis sisuliselt Eesti ajal.
Kindlusarhitektuur on osa meie elukeskkonnast
ants431
Liige
Postitusi: 729
Liitunud: 30 Jaan, 2007 21:54
Kontakt:

Re: Raudse eesriide aegu: piiriülene raadiopropaganda ja seg

Postitus Postitas ants431 »

Aitäh huvitava meenutuse eest!
Mina olin sel ajal poisike. Tegin ise raadiot.
Muidugi lihtsat 2 lambiga positiivse tagasisidega.
Võttis vastu ka lühilaineid alla 25 meetri ja "onu häält"
sai kuulata üsna häst. Üle 25 meetri lühilainel oli
kuuldavus poe raadiotest parem.
Kasutaja avatar
Fucs
Liige
Postitusi: 16688
Liitunud: 12 Dets, 2006 21:43
Asukoht: retired
Kontakt:

Re: Raudse eesriide aegu: piiriülene raadiopropaganda ja seg

Postitus Postitas Fucs »

Svejk kirjutas:Kuna olin enne teemategemist erisideotseliinikaudu kontaktis ka foorumi luure- ja vastuluure (ning mitteainult!) spetsialisti FTP Fucsiga
Te ajate jälle ja järjepidevalt kõik segamini. See ON lihtsalt kohutav.
Te tahtsite kindlasti ütelda hoopis, et Teie personaalse "toitlustusnõustajaga" :idea:

***

Muidu tahaks lisada siia, et nõukaajal olid venes igasugused kirikud eristruktuuride erilised lemmikud.
Nii asusid nt. Moskvas ГУПС (Главное управление правительственной связи, hiljem ФАПСИ) sidekeskused kirikutes ja kabelites.
Enamasti sellistes väiksemates ja vähem silmatorkavates.
Walter2
Liige
Postitusi: 4908
Liitunud: 27 Okt, 2012 22:11
Asukoht: Perigiali
Kontakt:

Re: Raudse eesriide aegu: piiriülene raadiopropaganda ja seg

Postitus Postitas Walter2 »

Tänud lugemise eest - ainult algse artikli pildid pole miskipärast näha? Kas ainult minul?
Elu on liiga lühike et raisata seda lollide peale tõestamaks et nad on lollid /道德经 (Dàodéjīng)/
Parem olla tark ja rikas kui loll ja vaene...
Kasutaja avatar
Fucs
Liige
Postitusi: 16688
Liitunud: 12 Dets, 2006 21:43
Asukoht: retired
Kontakt:

Re: Raudse eesriide aegu: piiriülene raadiopropaganda ja seg

Postitus Postitas Fucs »

Walter2 kirjutas:Tänud lugemise eest - ainult algse artikli pildid pole miskipärast näha? Kas ainult minul?
need on kadunud originaalartikli juurest... aga ..... tulles vastu töötava rahva soovidele.... 8)
Hallas1.png
Hallas2.png
Hallas3.jpg
klm
Liige
Postitusi: 124
Liitunud: 29 Apr, 2008 8:56
Asukoht: Wesenbergh
Kontakt:

Re: Raudse eesriide aegu: piiriülene raadiopropaganda ja seg

Postitus Postitas klm »

Umbes kakskümmend aastat tagasi sai külastatud Tartu Soinaste masti all asuvat Raadiomuuseumit.
Seal oli välja pandud Haagel töötanud segaja. Tutvustaval sildil oli kiri "eriotstarbeline saatja" alguses oli olnud kiri "segaja" aga mõningatele seltsimeestele see ei sobinud.
Kasutaja avatar
Castellum
Liige
Postitusi: 2698
Liitunud: 27 Dets, 2008 23:29
Asukoht: Tallinn
Kontakt:

Re: Raudse eesriide aegu: piiriülene raadiopropaganda ja seg

Postitus Postitas Castellum »

Siin ka üks vaade omaaegsele Sitsi raadiojaamale:
https://www.muis.ee/museaalview/2295351
See uhke tornikestega maja on hoopis 1913 ehitatud Sitsivabriku kooli ja kaupluse hoone (mälestis nr 8282), praegu elumaja Kopli 35. Arhitekt Tallinnas väga palju projekteerinud Jacques Rosenbaum.
Kindlusarhitektuur on osa meie elukeskkonnast
smr
Liige
Postitusi: 930
Liitunud: 05 Sept, 2011 7:07
Kontakt:

Re: Raudse eesriide aegu: piiriülene raadiopropaganda ja seg

Postitus Postitas smr »

Osaliselt teemasse: ega kellelgi ei ole säilinud vanu, eelmise külma sõja aegseid salvestisi Ameerika Häälest, Vabast Euroopast või eriti Eesti Vabaduse Häälest?
Kasutaja avatar
Kriku
Moderaator
Postitusi: 43151
Liitunud: 10 Aug, 2010 18:55
Asukoht: Viljandimaa
Kontakt:

Re: Raudse eesriide aegu: piiriülene raadiopropaganda ja seg

Postitus Postitas Kriku »

smr
Liige
Postitusi: 930
Liitunud: 05 Sept, 2011 7:07
Kontakt:

Re: Raudse eesriide aegu: piiriülene raadiopropaganda ja seg

Postitus Postitas smr »

Kriku kirjutas:Siin väidetakse, et ERR arhiivis?

http://isekiri.blogspot.com/2013/12/vab ... d1963.html
Jah, Isekiri ja ERRi arhiiv ja Hooveri arhiiv on suureks abiks olnud. Nüüd otsin, kas on veel mingi privaatsed varud kuskil :)

Netis oleva kraami olen viimase 2-3 aastaga läbi kamminud päris põhjalikult.

U paari nädala pärast jagan muidugi kõigiga oma leide
smr
Liige
Postitusi: 930
Liitunud: 05 Sept, 2011 7:07
Kontakt:

Re: Raudse eesriide aegu: piiriülene raadiopropaganda ja seg

Postitus Postitas smr »

Mul on võlg üleval.

Siin on mu kollektsioon erinevatest väliseesti raadiosaadetest.

https://drive.google.com/open?id=1A2XQ3 ... DInsVdC0v-

Kui sul on midagi jagada, olen väga õnnelik!
ants431
Liige
Postitusi: 729
Liitunud: 30 Jaan, 2007 21:54
Kontakt:

Re: Raudse eesriide aegu: piiriülene raadiopropaganda ja seg

Postitus Postitas ants431 »

Kas keegi mäletab kunas Viljandi segaja ehitati?
Ehitati järve taha välimuselt individuaalmaja meenutav maja.
Oli samuti 4 vahetust ja 2 inimest korraga vahetuses. Muidugi
leppisid nad sõbralikult kokku ja ajasid töö ajal väljas ka oma
asju.
Asjal oli ka see külg, et segamist püüti ju ka välisilma
eest varjata nii kuidas osati. Tuli kasutada palju väikese võimsusega saatjaid, ey üle piiri palju ei leviks. Püüti ajada raadio amatööride kraesse kellel vilets aparatuur ja omal algatusel tegutsevad valel sagedusel. Küsimus targematele.
Kas lühilainete segamine toimus alati põhisagedusel või segati "peegel" sagadusel? NLiidu vabrikute raadiote lühilaine ala oli ju
juba konstrueeritud nii, et müra laialt sisse pääseks.
Meenutan peegelsageduse mõistet. Raadio vastuvõjal
on antenni järel on 1 võnkering mis peaks väga mööda sagedused välja filtreerima. Siis tuleb sageduse muundur kus kus tehti vahesagedus 465 kHz ossi sagedus pluss või miinus esimest võnkeringist läbi pääsenud sagedus.
See tähendab et vastu võetakse ka õigest sagedusest
2x 465=930 kHz võrra kõrgem või madalam signaak kuhu võis
siis segaja häälestada ilma segamise süüdistust kartmata.
Vasta

Kes on foorumil

Kasutajad foorumit lugemas: Registreeritud kasutajaid pole ja 1 külaline